House energy retrofit project: Background

[This is in a continuing process of being written and revised]

Before/after
 
Over the summer of 2012 my house underwent what's known as a deep energy retrofit, a process of superinsulating and air-sealing an existing home for far greater energy-efficiency in heating/cooling and better indoor air quality. These pages describe the project in minute detail, including much of the research process and design thinking that went into it. For what it's worth, this turned into a monster -- aka my own book-length treatise and discovery process on building science, construction, moisture management, and HVAC. Besides a fun story, it is also intended to be a useful resource to anyone considering their own retrofit or energy improvements. It's my small way of giving back to the green-building community that has taught me so much.

This is a general intro page describing the background to the project. Those wanting to skip straight to where all the fun pictures of ongoing work begin can shortcut to Page 1 or any of the MANY other sections listed below, with the caveat that reading this page provides more depth into the thinking and research that drove a lot of what transpired. Those only interested in seeing how the insulation was constructed should probably jump right to part 10.

    The leadup

I tend to be one of those people with too many little projects, which have a certain tendency to eclipse attention to larger projects such as house maintenance. It was kind of ironic that in the 20+ years I'd been in this place I had never really torn any of it apart to see how it was constructed, considering my engineering/tech tendencies and all. The house for the most part was just a big wooden box that I put all my other projects and related junk *into*, and oh, I happen to sleep there as well. Unfortunately, the forces of nature are constantly at work to break down the exterior of said box. The hideous light-yellow-green paint job had never been particularly good but the fairly rot-resistant cedar-shake siding didn't seem to be particularly vulnerable in the bare and flaking spots -- many houses have the same type of siding without any paint at all, maybe just some stain once in a while, so it didn't seem worth worrying about.

But the overall condition of the roof and cladding and trim was steadily getting worse with essentially zero maintenance, and while a couple of quick-n-dirty fixes to the roof had held off the inevitable for a couple more years it was high time to set those many little projects aside and do something about the big box itself. My mom visited briefly in the fall of 2011 and while she didn't really express it at the time, I think she was mildly horrified at my living conditions. Let's just say that certain incentives were discussed, perhaps the grownup equivalent to "go clean your room", which made it exactly the right time to attack this problem. Well, that and the fact that visible mold was starting to appear in the attic and a few other places -- not helped at all by some incorrect basement dehumidification settings that happened by mistake over the prior summer while I was thousands of miles away on the road.

So my latest recent hobby of long-distance roadtripping was taken off the table for the moment, and I decided to dedicate as much of 2012 as necessary to the house-renovation issue. It was mildly terrifying in that it meant that I'd have to reach out and try to engage various contractors, and how do you go from dead-cold to finding a worthwhile contractor who is genuinely concerned with doing a good job and not just putting your project in their rear-view mirror as soon as they can? The horror stories are legion, and here I was staring up a big ugly-looking mountain of other peoples' bad experiences and trying to find any good footholds.

There was a huge silver lining to all this, however. A few years back I had found some of the early literature about "building science", mostly at buildingscience.com [fancy that, huh] and mentally earmarked the many great papers they already had out on the net for free back then as mandatory reading come that faraway time when I was going to start really dealing with house stuff. When I went back to look at the field now, the knowledge had totally mushroomed and there were many more players in the game, many more papers, many more conference proceedings and case-studies and videos, and a much deeper body of experience to read about. Most of it had to do with energy-efficiency balanced against moisture management, as some of the earlier "superinsulation" and air-sealing efforts had met with serious unforeseen problems from condensation and mold in bad places. Now the building industry could draw on a combination of that experience and the new materials that had become available and engineer the *right* approaches toward efficiency in new construction and retrofits. Many hints were also coming from the international building and energy codes, which receive input from parts of the world much more clueful about such things than here in the fossil-fuel-thirsty USA. It should really be a no-brainer -- for best energy efficiency in a building, start by *needing* less energy to begin with via a well-designed and well-insulated envelope before worrying about sexy add-ons like solar heating or photovoltaics. Overall I was finding that more energy/efficiency awareness seemed to imply better whole-building-design awareness and most importantly, attention to detail in construction. Clearly, any builder who wasn't at least becoming informed about "green building" techniques if not actively practicing them was going to be left far behind in another few years.

So I went back and dug deeper into sites like Building Science and Green Building Advisor and Fine Homebuilding and Journal of Light Construction and the many other resources that had popped up online, and quickly found myself immersed in a study project easily as extensive as all the Prius and related hybrid/electric stuff I had assimilated a few years back. Executive summary is that I learned more about building design, moisture control, insulation types, construction techniques, and HVAC in the span of two or three months than I ever thought possible. Because as much as any contractor would handle most details and code-compliance of any particular retrofit aspect, ultimately *I* would be the overall project manager for this since, well, I have to live with the results. And I couldn't see myself being anything other than a well-informed customer and the guy to ask all the hard questions -- it's one of the things I do best, apparently.

Clearly any candidate contractor would need a bunch of information about the intended project to intelligently offer any services, so I decided to put that online and be able to give them a link to a page explaining the whole story as best I knew it at any given time. Contractors seem to have taken rather enthusiastically to the email and online world, so my initial phone conversations with them basically boiled down to getting an email address and sending them a link to my overview page. Said page went through several changes as things developed, but the last state of it can be viewed here. Not only does it lay out pretty much all the specifics that a prospective renovator would need to know, it also has just enough of a control-freak feel to it that any contractor who *wouldn't* want me to be the well-informed client was clearly one I didn't want to work with in the first place, thus providing some amount of reverse-filtering to weed out the ones who wouldn't be able to deal with me. Better to establish that about a potential working relationship up front, rather than have it come as a surprise later. Even my expectation that someone would *read* and *understand* the page would be enough of an obstacle to some of them, and that was perfectly okay. There was no way in hell I was going to deal with typical illiterate dumbass GCs only in it for the job volume and the quick money, and the intro page reflects that. There are quite enough of those out plying the market these days; when I'm out running errands I have to yuppie-button their pickup trucks off my tail on a regular basis.

I'm on a small mailing list of local homeowners, from which I had saved various items such as contractor recommendations over the years, and used that as a seed to build an initial list of places to call. Based on what I'd been reading I was leaning heavily toward outfits that claimed to do roofing *and* siding, as they would seem more likely to handle correct integration of where those two worlds meet at the eaves. It is too often the case that various trades don't talk to each other, which makes an overall project a partial hodgepodge of one contractor trying to adapt to the mess that another one left behind. That doesn't make for very durable construction. A well-designed building needs to be viewed as an integrated whole, so clearly I needed a contractor well-versed in both major aspects or at least able to correctly manage subcontractors to tie it all together in the right way. There also seemed to be a relative scarcity of local roofers who understood metal for residential projects. I had already determined that metal for the roof was a hard requirement, most likely the standing-seam type as many accelerated-lifetime studies had that on top of the heap as far as long-term durability. [After fighting with icky black roof-patch goop and watching my shingles degrade year by year, I am *so* done with any asphalt compound as a roofing material.] You go to just about anywhere *outside* the eastern Mass area and you see standing-seam on almost every barn and many of the houses, but it had so far been inexplicably scarce around the Boston-metro area on anything but a few commercial buildings.

So in late 2011 I made a halfhearted stab at contacting a handful of contractors, and quickly discovered that about a third of them would actually follow up and call back and schedule site-visit appointments, and about half of *those* would actually show up for same instead of making some excuse to blow it off. I suppose I should concede just a little that it was late November at that point, and everyone was getting into Turkey Day and the subsequent frantic times that seem to occur preceding and into the holidays, and at that point in early December I was about to head off for on my own perennial parental visit anyways. I had one or two of the guys out for site visits, and received pretty obvious skepticism when asking about any sort of foam layers on the exterior or anything else they'd consider unusual. One of them even tried to maintain that the 4.6/12 pitch on my shed dormer roof was completely unsuitable for standing-seam metal, which is just misinformed bunkum. Nonetheless, I let these backward but well-meaning old-school construction guys go through the exercise of sending me estimates and then chuckling over the generic, twenty-year or so lifetime packages they offered. No, sorry, at this point I was looking for something a bit better than "minimum code".

    More research

A small subset of local construction companies seemed to figure prominently in the Massachusetts-based retrofit case-studies I was reading, and the slideshows from conference presentations delivered by some of their staff were quite interesting and thoughtful. They were also on the NESEA list of approved green builders, presumably vetted for cluefulness by some of my old acquaintances from the Tour de Sol vehicle events. At this point the "green" aspect only applied in a token fashion as I knew that stripping old siding off presented an opportunity for fixups like blowing better insulation into walls from the outside. But almost on a lark I reached out to a couple of the local deep-energy-retrofit contractors to at least have a conversation about appropriate ideas. These builders are quick to encourage anyone and everyone to go as "deep" on an energy retrofit as they're able, and their sincerity and enthusiasm is what started moving my thinking from a simple re-roof/re-side job to taking it a step further because a stripdown to the sheathing on roof and walls is the perfect opportunity to do so in a whole-envelope fashion. Rigid foam insulation was becoming the de facto way to deal with the exterior in terms of insulation, air-sealing, and robust, leakproof rainscreen all at the same time. It was about this point that I was introduced to the concept of "chainsaw retrofit", hinted at in this picture and detailed more later. Suffice to say that while it's a somewhat radical approach, it's the simplest way to go about achieving real airtightness. It still sounded like a bit more than I was willing to get into, but I wasn't completely excluding the possibility and it seemed to make more sense the more I learned. The guys at Synergy Construction, who I ultimately wound up selecting, were ready and willing to tear into it and assured me that small Cape style houses are some of the easiest to tackle.
[Base image shamelessly ripped from someone's DER presentation]

Heating season had begun around that same time, and while the furnace didn't seem to need a full round of cleaning and maintenance this season I began to realize that it wasn't running as optimally as it could have. My latest efforts to reduce its capacity in the interest of saving fuel were running into a bit of a problem, and after diagnosing what the issue was I wrote it up for the folks on my homeowners' list. It probably made most of their eyes glaze over, but I had fun describing the nitty-gritty tech of my findings. I had been maintaining that old oil burner myself for the last decade-plus, as it basically needed only periodic soot-vacuuming and a new nozzle every so often, but recently I had to replace some other parts on it like the ignition transformer and stack-temperature control. The firebox was also starting to fall apart. It was still the original unit from 1956 and was definitely starting to show its age, beginning to border on unmaintainability without some pretty serious work.

Somewhere in the same timeframe I went to one of the semi-regular "home shows" over at a local function hall, and came home with a handful of info including a brochure from a local company that installs ground-source heat-pump systems manufactured by Earthlinked. Whose main headquarters is in Lakeland FL, a fairly short distance from where I would be in a few weeks. This prompted me to research "geothermal" a bit more, reading about the efficiencies possible from direct-exchange systems with refrigerant loops buried right into underground boreholes which could be drilled diagonally from a small common pit. Perfect for my little quarter-postage-stamp property, right? And there were videos galore out there showing various installation scenarios, which I glued myself to for a couple of evenings. Looked like very sexy stuff, not to mention super-efficient, because heat pumps have this specification called "coefficient of performance" which means that they basically create warmth more from magic fairy dust rather than watts. There's a lot of that fairy dust buried in the ground under the frost-line.

Let's make it clear that the proper term is "ground source", not geothermal. Geothermal is where heat produced *from within* the earth is utilized, like in Iceland or Hot Springs or Old Faithful. A heat pump with part of its loop buried in the earth is transferring heat in and out against the thermal mass of the ground, but not necessarily getting free heat from it. Therefore I'm not going to use the term "geothermal" to describe this anymore.

Learning more about heat pumps and observing that they are often part of other energy improvement projects got me thinking: how long did I want to continue messing with this oil-burner stuff? How about getting off the oil habit entirely for space-heating? The idea of completely eliminating the combustion applicances in the house, and with it the need for a chimney not to mention the environmental risk that an oil leak could cause, was starting to have serious appeal. So I called Earthlinked, and floated the idea of a site visit while I happened to be in their area. They were completely amenable to that, so I put it on the agenda of things to do while I was down south. A whirlwind study of various refrigeration and HVAC topics ensued, because I really had no idea how well some of the newer heat-pump systems handled extreme conditions and partial loads. Mostly it boiled down to right-sizing for the application. See, the big problem with a typically oversized heat-pump or air conditioning system is short-cycling which substantially reduces dehumidification capacity in summer, shortens compressor life, and generally reduces a system's overall capability. Thus a new project goal was to find an HVAC contractor who understood the need for a *small* system matched to a better-insulated house, and who would be willing to listen to all my weird ideas.

For the most part, contractor-shopping and site visits had to go on hold as I set forth on my travels. But my research could nonetheless continue and that also put me within striking distance of the Earthlinked headquarters.


[Click any image below for a larger version.]

Visiting Earthlinked On a mutually-agreeable day, I bopped over to Lakeland to visit their main manufacturing facility. They have several test systems installed which are part of their heating/cooling infrastructure. One of their lead engineers who was showing us around pointed out that ground temps in Florida are more like 75 degrees instead of the 55 we come to expect in the northeast, and that cranking a lot of cooling capacity into that can actually drive the seasonal ground temps up quite a bit so for effective capacity, the loop field sometimes has to be a bit bigger than expected. This was my first inkling that ground-source systems aren't necessarily all they're cracked up to be, dependent on local climate. But in general they are fighting less of a source/sink gradient than an air-source system in more extreme weather conditions.


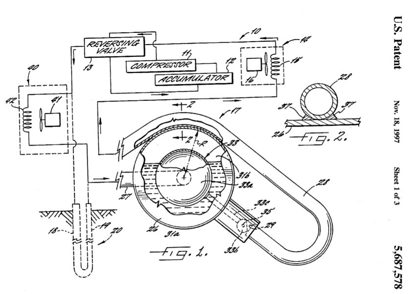
Simple liquid-refrigerant regulator I only got one picture the whole time I was at Earthlinked -- of the cutaway liquid regulator that the engineering guy had in his office. This is a simple mechanical substitute for the fixed orifice or thermal expansion valve found in other systems; it regulates based simply on how much gaseous refrigerant is coming through it and adjusts to send just the right amount of liquid toward the evaporator.

EL liquid regulator patent diagram The liquid regulator is described in US patent 5687578 (pdf), one of quite a few ground-source HVAC-related inventions by Robert Cochran who helped found the company as ECR Technologies before it became Earthlinked. Search the patent database for his name, and a bunch of stuff comes up. The various discoveries and experiments Bob did in his own backyard became the cornerstone of the company's technology, which at its heart seems beautifully simple and extensible. The funky way the pipe runs over the top is intentional -- it's a thermal feedback connection that helps to damp out any control oscillations that might start up from varying loads on the system. A system based around this doesn't seem to need any other feedback from the suction side to get the right amount of superheat. The Earthlinked systems also feature a generous accumulator with sight-glasses that virtually eliminates all that traditional guesswork about the correct system charge.

If none of that makes any sense, look up "refrigeration cycle". There will be a lot more about this later on...


    Give him air

It was a pretty awesome visit, and I left there totally hot on the idea of having a ground-source system. On returning north I had to basically drop all the house-research stuff and handle my responsibilities for Arisia, but dove right back into my new obsession right after the con was over. And it was around then that some other energy-enthusiast acquaintances mentioned the significant improvements that have come to air-source heat pumps, possibly making the higher costs and tearing up of the yard for ground-source less attractive. And let's face it, once you've pumped a lot of heat into or out of the tiny blob of ground under your own yard, where do you get more of a "reservoir"? The air whose temperature gets changed will simply be replaced with more air, so the effective reservoir is infinite.

This spawned yet another arm of research and I began to understand the benefits from what are called low-ambient systems which unlike older units that crap out around 40 degrees outside, can work as fully functional heat pumps down to like 5 F or less. Mitsubishi had recently come out with a new version of their "mini-split" systems sporting a feature called "hyper-heat" which emphasized just that sort of capability, and the other makers were starting to build similarly enhanced systems too. These units feature inverter-driven compressors, meaning that they use electronic control and a rack of power transistors to run variable-speed motors. Now, where had we already seen resounding success of that kind of technology before? In the Prius and other hybrids, of course, where it's all about computer control of three-phase permanent-magnet motors. This same thinking was coming to the HVAC market and the inherent efficiency increase from that could already speak for itself. Fine control of compressor speed also means that startup is very "soft" in terms of current draw, eliminating that typical blink of the lights when a traditional compressor kicks on. That could also make running one of these systems from a small generator more feasible if necessary.

The ground-based systems I was researching had a little trouble with that concept, which due to the loop lengths and vertical height changes want to run their compressors at full speed all the time to avoid pooling oil in the lowest part of the loops. They wouldn't ramp up when starting, and wouldn't be able to turn down to lower capacities when appropriate. Even adding a soft-start module to one of these units wouldn't really mitigate the typical inrush problem. It also didn't help make the case for ground-sourced that the local Earthlinked dealer that I had been chatting with had completely ceased to return *any* of my calls or emails, including when I was trying to find out more about their so-called "secure start" kit. By now I knew that the smallest system Earthlinked makes was already overkill for my future needs. Fine. Fickle me, now it was all about those variable-capacity air-source systems instead because they were clearly the right thing for my application.

As the bright spark of ground-source faded and fell by my mental wayside and I continued comparing more aspects of the overall project design, something like an actual Plan began to form and with it the notion of where everything would fall on a timeline. If the renovation was to begin once warmer weather arrived, I had an assload of work to do in preparation. Just by having things, too many damn *things* in fact, including some piles arranged to prevent access to parts of the interior was going to be a problem, and getting that dealt with would involve handling numerous interdependencies along the way. And thus a frighteningly long to-do list formed, and grew longer as I continued thinking about how this was going to work.


Next page   (01)

Other direct page links and pseudo-index of sections:
  02   03   04   (my prep work)
  05   06   07   (HVAC install and related)
  08   09   (main retrofit days 1 - 2, substantial demolition)
  10a   10b   11   12   13   (main retrofit days 3 - 11, construction)
  14   15   16   17   (main retrofit days 12 - 22, construction)
  18   19   20   (roofing)
  21   22   23   (post-contractor fixups, job wrapup, and some early performance data)
  24   25   26   27   (deeper testing/observation scenarios, stats, and more small improvements)

Additional projects:
Other ongoing home-improvement activities, either related to the retrofit or not
    Roof ridge cap splices
    Clips to hold down gutter guards instead of zip-screws
    Motion-sensor light and doorbell hack
    Deep drainage/infiltration pit in the front yard
    Permeable pavers driveway rework (fairly major project)
    Underground gutter, below-grade foundation water protection
    Front door fix-ups, less ugliness and more thermal performance
    Snow clearing on the roof and related insights, "endless winter" 2015
    External foundation insulation, a layer of R-8 rockwool wrapped around most of the basement wall
    Diagnosing a heat-pump failure due to a bum thermistor, summer 2018
    Chasing an annoying slow refrigerant leak in the Daikin   (multi-year saga, 2019 - ?)
    Replacing the main inverter board in the Daikin outdoor unit, and figuring out why it died (spring 2021)
    Finally documenting the basement radiant barrier installation, which I didn't capture a ton of detail about

_H*   orig 120507, finally wrapped 140525, additional subsections later